Home electron Tube Data sheets Back
Frank's Electron tube Pages  
Frank's electron Tube Data sheets some Tube Bases  

 
Base Used by e.g. Drawing
H 1803, 1823
A, B4 1651, 1805, PX4
O, B5 E499, KL1
U, (B6?) B2043
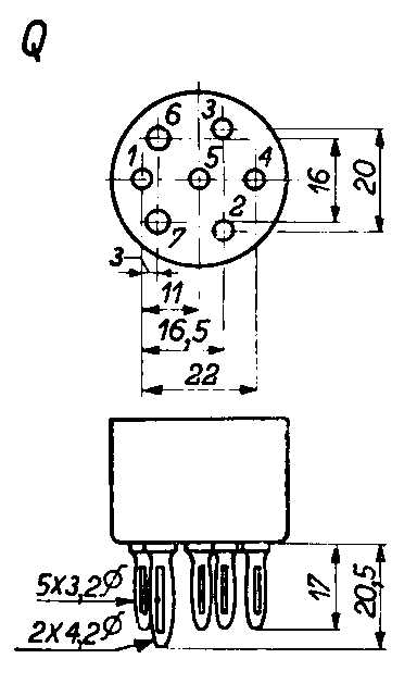
Q ?
B E444, E453, E463, STV280/40Z
C E449, ACH1, AK1
D  
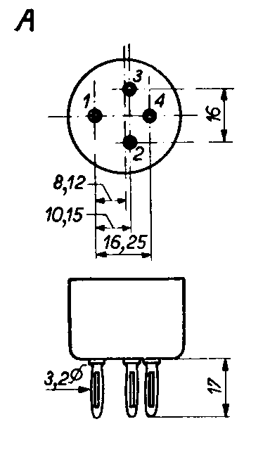
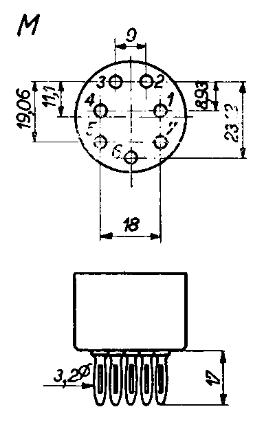
M, B7 SP2, 18013 to 18016
B7A  
B9 TP2620
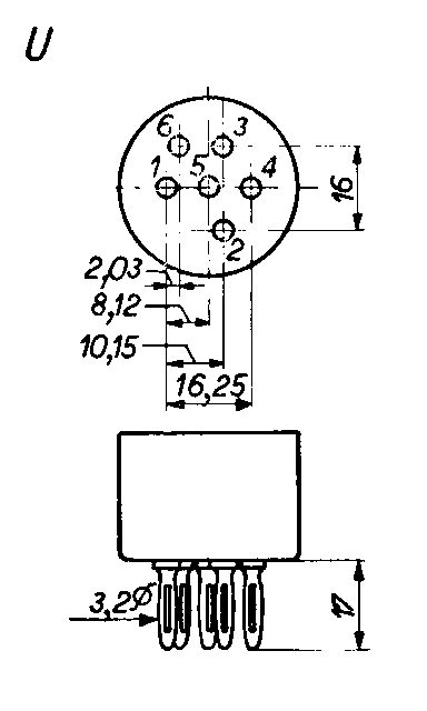
V AB2, CB1, CB2, KB2
W 4624, 4641, 4646, O60/1200
P, 8SC, SC8, 8A 4699, AZ1, AD1, EF9, EL6, EL51
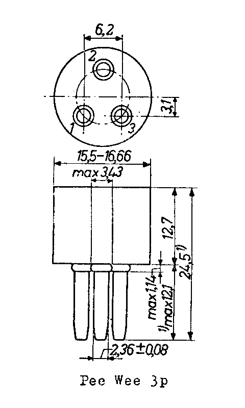
Pee Wee 3-pin  
SM4, Hivac 4-pin 4662 ?
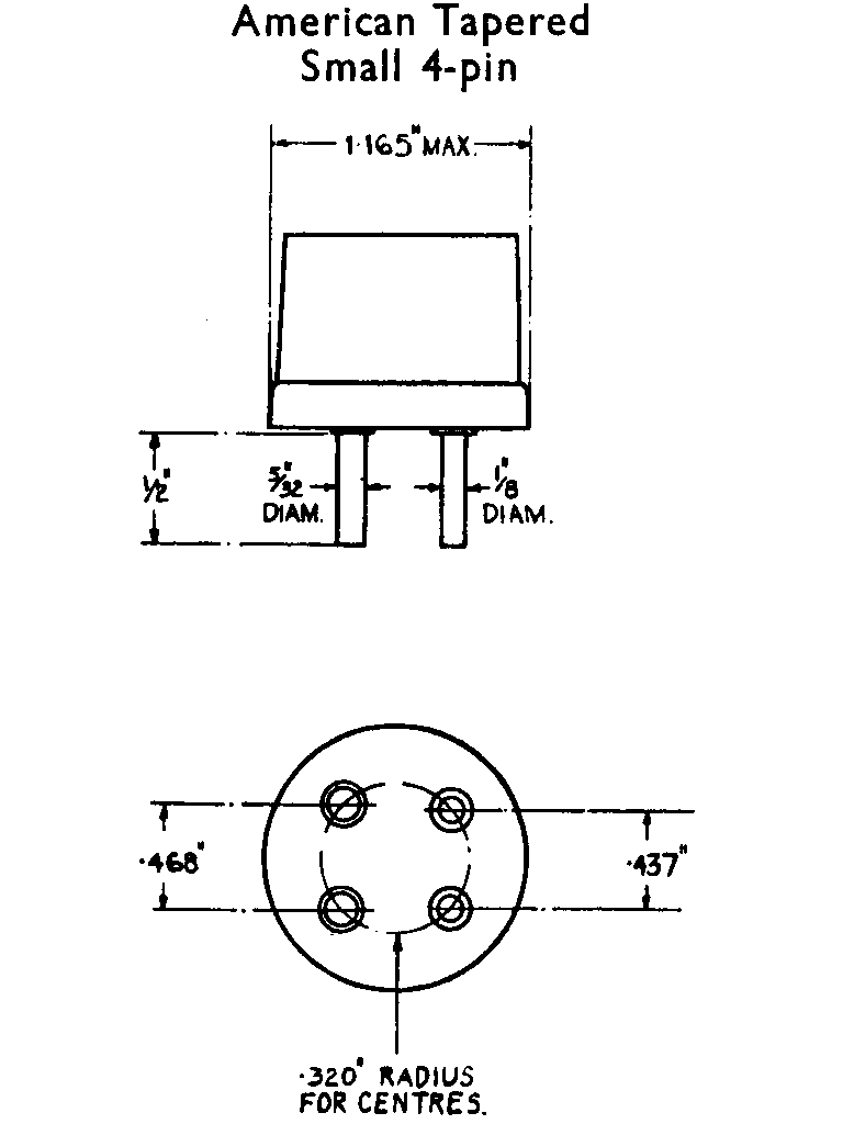
UX4, Small 4-pin  
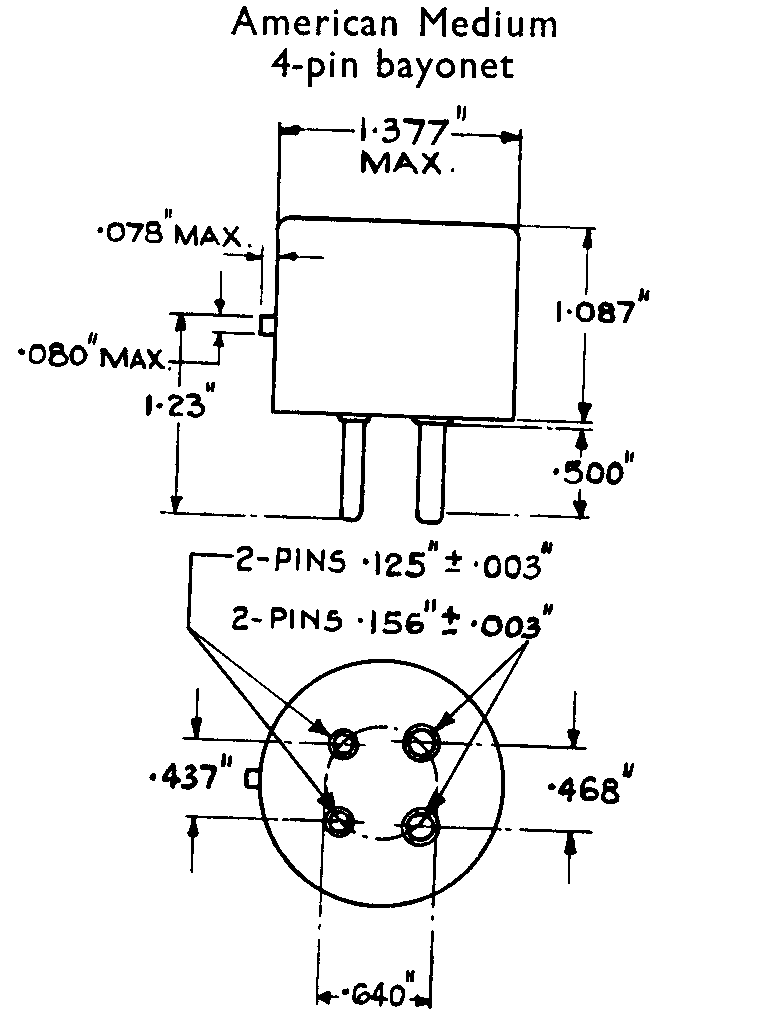
G, Medium 4-pin  
Medium 4-pin with Bayonet  
Large 4-pin with Bayonet  
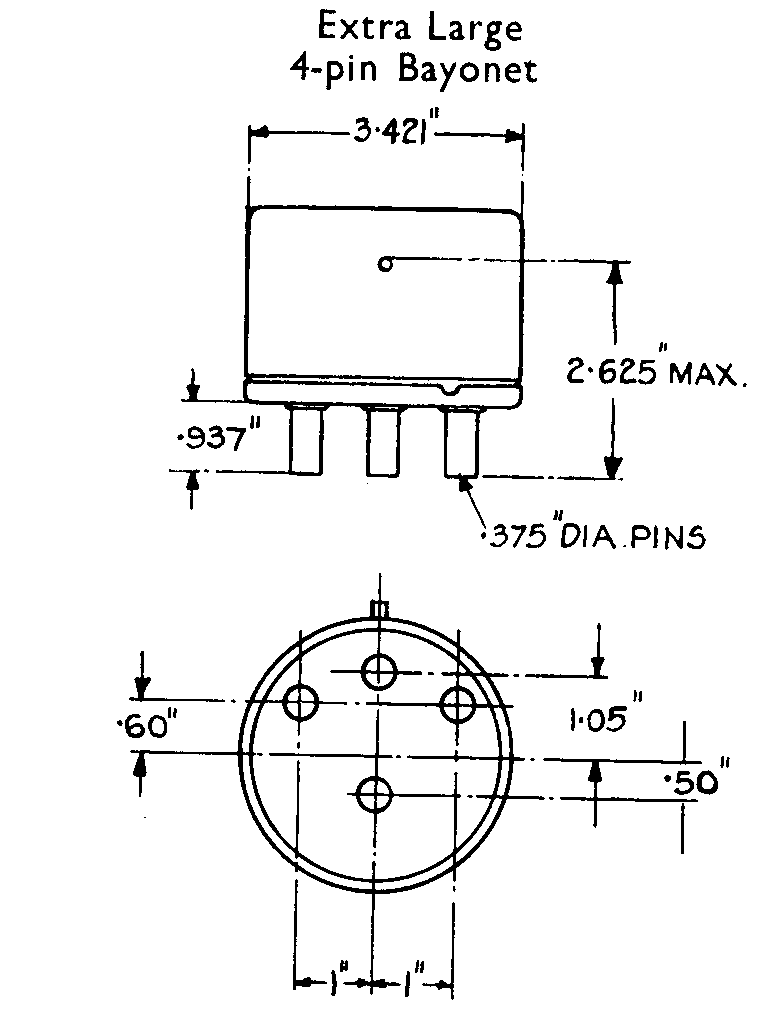
Extra Large 4-pin with Bayonet  
Jumbo 4-pin with Bayonet  
Super Jumbo 4-pin with Bayonet  
SM5, Hivac 5-pin  
UX5, Small 5-pin  
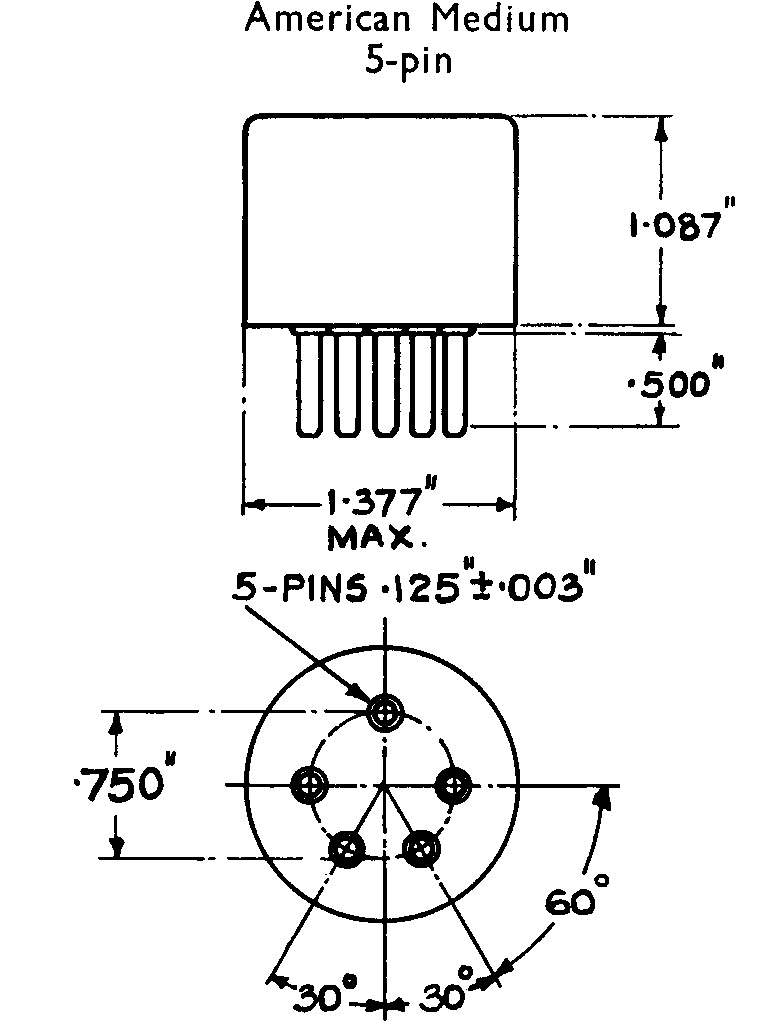
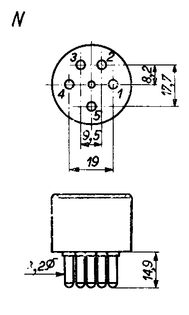
N, Medium 5-pin 807
UX6, Small 6-pin  
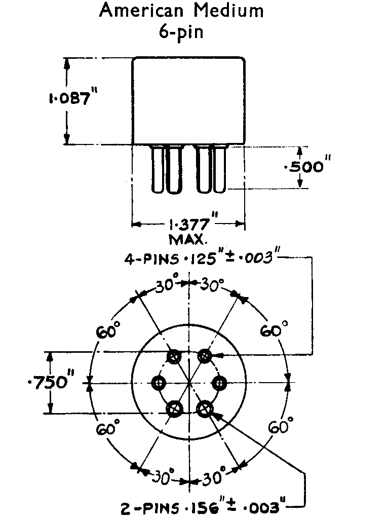
J, Medium 6-pin  
SM7  
UX7, Small 7-pin  
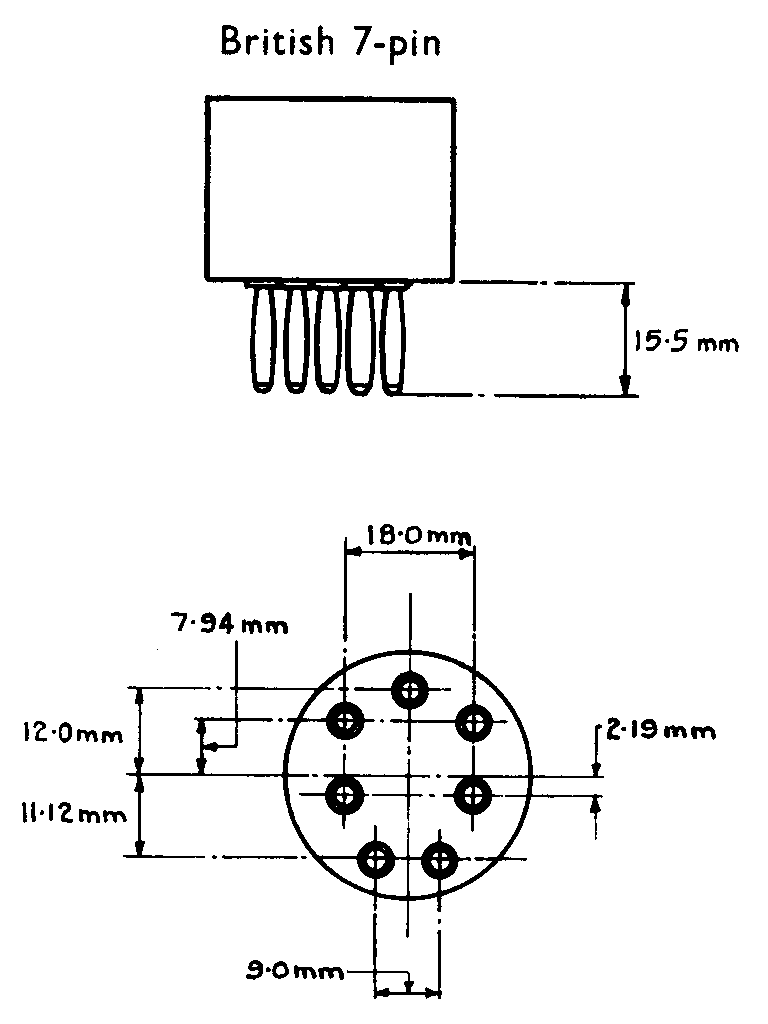
E, Medium 7-pin PE06/40E
K8A, A08, IO, International Octal (IEC 67-I-5a) 6L6, EL34, EM34
Submagnal 11-pin 1P28  
B08, M08, MO, Mazda Octal ATP4, SP61, VR65
Y, Y8A, G8A, F8, Stahl 8 EF11
G10A, Stahl 10 EL156, UEL51
Septar  
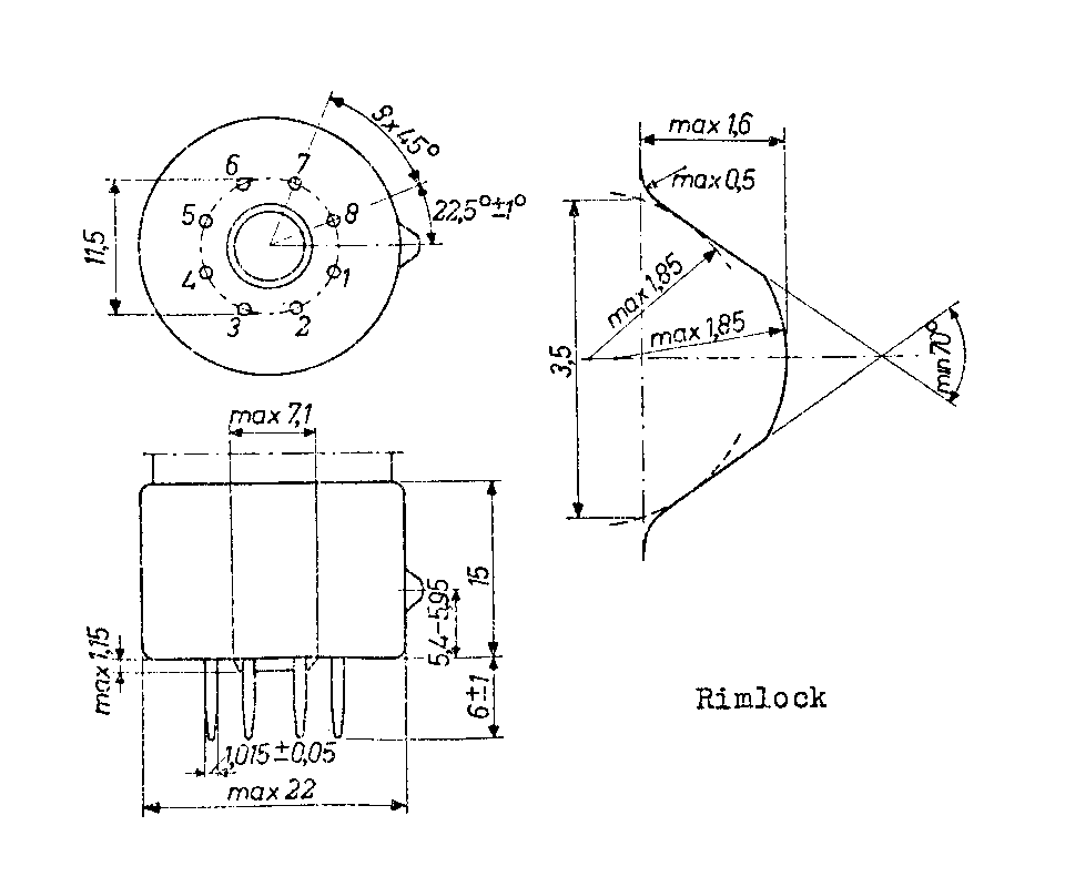
A8A, B8A, Rimlock AZ41, ECC40, EF40, EL41, UAF42, 6F15
B8B, B8G, W8A, Loctal C3m, EBL21, ECH21, EF22, EM71
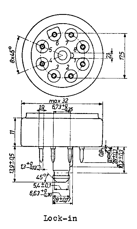
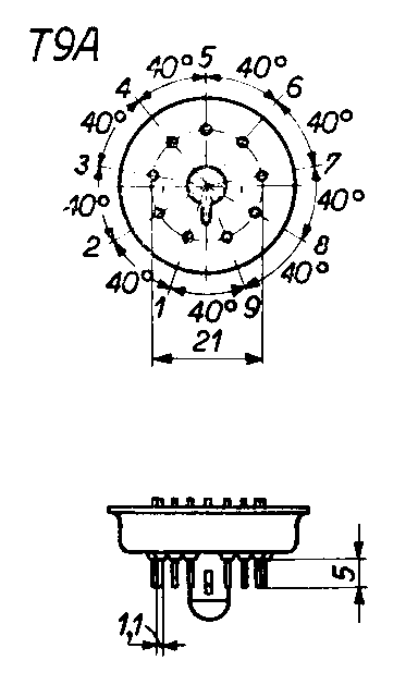
T9A, B9G, Loctal 9p EE50, EF50, EF54, EF55, EFF50, TT15
C2R, Enne-al EF53, EFF51, EL60, EW60
B7G, Miniature 7-pin (IEC 67-I-10a) DL96, EL95, 6AU6
B9A, Noval (IEC 67-I-5a) 12AU7, E81L, ECC83, EF80, EL84
Decal, B10B, Miniature 10-pin (JEDEC E10-61) ECH200
B9D, Magnoval (JEDEC E9-23), Novar (JEDEC E9-75) (Serial numbers for Novar based tubes are from 520 upwards) EL503, PL519
usm4b    
BC4  
G4b, VX4 4606, 18004
Acorn, 5AA, 7AA  
B8D, Sub Miniature 8-pin  
Nuvistor 13CW4
B2A  
B3G  
B5A  
B5B  
G10G FL152
B11A  
Duodecal, B12A E1T
B13B ZM1040  
B14A  
G9  
W3  
W4  
W6  
W7  
W8  
W13  
WA3  
WA5  
WA6  
WA8  
WB5  
WB6  
WB8  
WC5  
WC8  
WF8